三星三折疊手機專利曝光,G型折疊三塊電池,有望最早11月發布
二楠 / 2025-10-10 11:0432025目前量產的三折疊屏手機僅有華為有,雖然例如傳音、三星均曾經展示過三折疊的概念機,但是量產機遲遲沒有上市。而近日,三星三折疊Galaxy Z TriFold的專利曝光,根據爆料消息,這款機型預計最早將在11月在三星APEC峰會展示,將與華為在三折疊屏手機市場競爭。

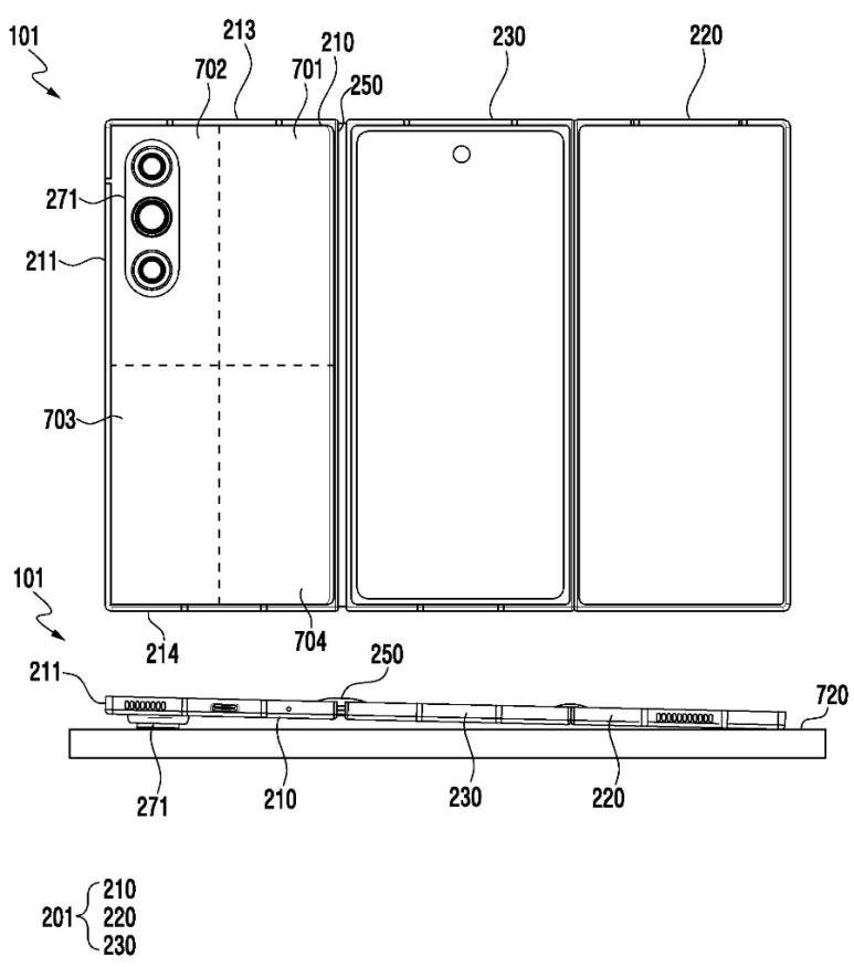
從三星三折疊的專利圖來看,造型上看起來有點像三星Galaxy Z Fold7多了一塊屏幕,不過內部結構有所調整,三折疊手機配備了三塊電池,其中后攝模組所在的區域配備的電池容量最小。有意思的是,結合三星三折疊之前演示動畫,三星三折疊還能提供反向充電。

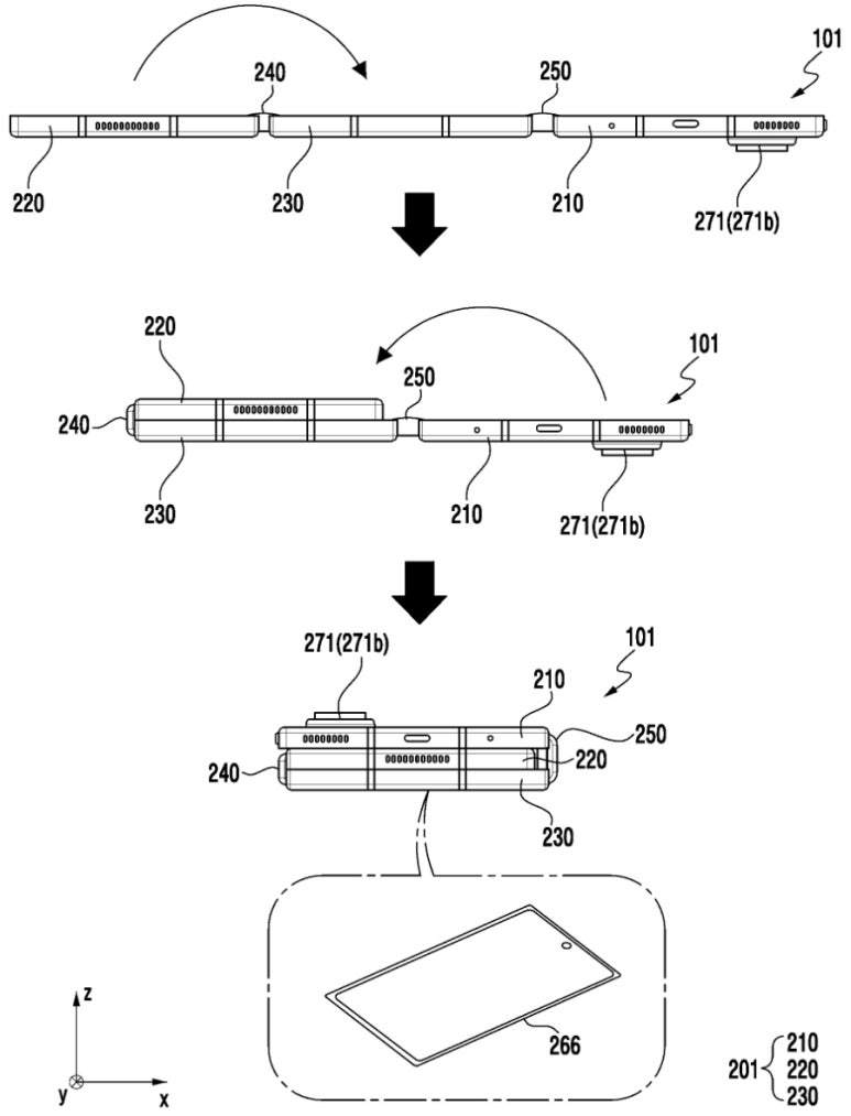
在折疊設計上,與華為三折疊“Z”型也有所不同,三星采用的是“G”型折疊,就是兩側的屏幕一起向內折疊,相對來說,會更好保護手機的屏幕,但是缺點之一,手機相對會更厚一些。而根據內部結構圖來看,折疊之后位于中間部分的電池容量最大,擁有外屏的部分電池容量相對要小一點。


上半年,三星發布的輕薄手機Galaxy S25 Edge展示了自家在手機輕薄化的能力,將手機厚度控制到5.8mm,這其實也可以理解為,三星正在為自家推出三折疊屏手機做“輕薄化”的基礎,所以三星三折疊屏手機大概率是真的要來了。

不過目前華為的三折疊手機已經發布第二代,價格相比第一代下調了2000元到17999元,成本有所下降,對于三星來說,首款三折疊手機定價也是一個值得考慮的問題,不過大概率售價不會比華為便宜。
點個贊768
三星三折疊手機專利曝光,G型折疊三塊電池,有望最早11月發布














滬公網安備 31010702005758號
發表評論注冊|登錄