騰龍注冊16-70mm F4鏡頭專利 屬全畫幅鏡頭
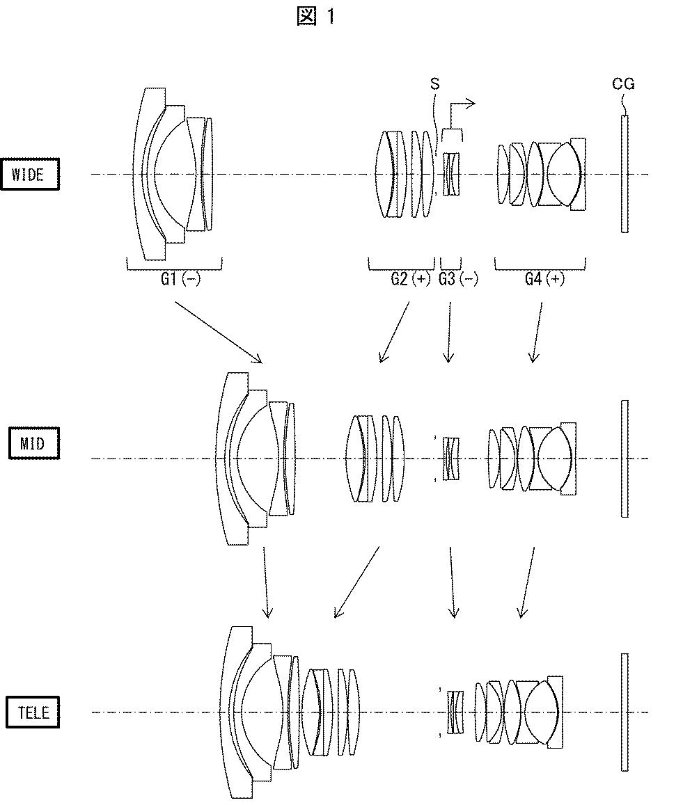
Napoleon Chan / 2021-05-03 09:2747012日前,騰龍在日本注冊了16-70mm F4鏡頭,該鏡頭是一支覆蓋超廣、標準、長焦的全畫幅鏡頭。

16-70mm F4在今天不算是少見罕見的規格,比如尼康有16-80mm F2.8-4,富士有16-80mm F4,但這些鏡頭都屬于APS-C鏡頭,等效視角不過是覆蓋廣角到長焦,完全沒法與騰龍16-70mm F4相比。而且從光學結構與傳感器比例上看,16-70mm F4尺寸不大,完全可以滿足手持使用。
目前市場上類似騰龍16-70mm F4鏡頭只有松下Lumix 10-25mm F1.7以及Lumix S 20-60mm F3.5-5.6,前者是一支M43卡口鏡頭等效全畫幅20-50mm視角、恒定F1.7光圈,后者是一支全畫幅鏡頭,二款鏡頭廣角、長焦端視角均不如騰龍,唯一占優的只有光圈,假若騰龍16-70mm F4上市將會是一支極具吸引力的鏡頭。
點個贊735
騰龍注冊16-70mm F4鏡頭專利 屬全畫幅鏡頭














滬公網安備 31010702005758號
發表評論注冊|登錄