正在憋大招?!微軟多個手機專利曝光
微軟Windows Phone系統近期可謂是噩耗頻傳,基本已被宣判死亡。而與此同時,有關Surface Phone的消息卻頻頻傳出,這個項目似乎并沒有因Windows Phone系統的失敗而被終止。近日,又有一批微軟手機專利曝光,不乏有新奇而超前的設計,讓人們對Surface Phone這個醞釀已久的產品有了新的期待。
1.手寫筆專利:
外媒報道,微軟在本月初取得了一項手寫筆的專利,這也印證了之前Surface Phone將配備手寫筆“Surface Pen”的消息。此次曝光的專利顯示,Surface Pen擁有獨立于觸控模塊的多級壓力感應系統,能實現更多的操控功能。
2.手機蓋天線專利:
大多數人在使用手機的時候,都會搭配手機殼、手機膜等多種配件。而微軟的一個專利展示了一種將帶蓋的手機套作為設備天線的設計,天線位于手機套的轉軸處,這樣的設計能夠避免被用戶的手掌覆蓋,從而獲得更好的信號。
聯系到微軟有意為大屏手機設備打造迷你鍵盤的傳言,若是能與天線專利結合,還是很值得期待的。
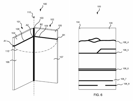
3.折疊屏設計:
手機折疊屏的設想曾一度被認為是手機的重要發展方向之一,微軟也做過類似的嘗試,并取得了折疊屏專利。在微軟的設計中,折疊屏展開后,底部會保留一個狀態欄,用于顯示信號強度、電池電量等信息。
微軟放棄了Windows Phone并不等于微軟放棄了手機,反而因為近期微軟將Windows桌面系統適配了ARM構架,使得基于ARM芯片的手機等移動設備搭載桌面系統運行exe程序成為可能。而微軟也正在積極研發Win10 CShell來使得系統界面能根據設備類型自適應顯示,以此來統一Win10在桌面、手機、平板等各個平臺的使用體驗。
或許,看似放棄手機市場的微軟,正在憋大招呢?
正在憋大招?!微軟多個手機專利曝光














滬公網安備 31010702005758號
發表評論注冊|登錄